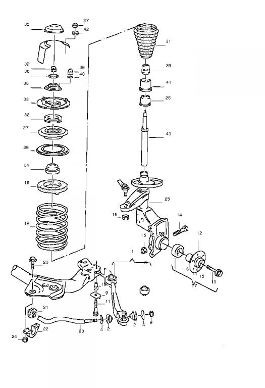
Itellä oli joskus sama homma, kitinää kuului käännettäessä. Siellä yläpäässä on semmonen "rinkula"laakeri, joka antaa myöten kun tolppa kääntyy. Ite oon kyllä sitä mieltä että kyllä sieltä voi se mekkala tulla jos se laakeri jumii:)
En ainakaan ite keksi muuta syytä tuohon jousen kääntymiseen.
En ainakaan ite keksi muuta syytä tuohon jousen kääntymiseen.

Comment